Металлорукав МРВД-5- по ОТТ ТрансНефть исполнение 5.
ОТТ-23.040.70-КТН-0414-22 и ОТТ-23.040.70-КТН-073-11.серия РГМ-МРВД
Ду 100, 150, 200 мм.
Ру до 100 кг/см2 (10 МПа).
Звоните (347) 294-17-77,
почта:
АО "Гибкие Трубопроводы" производит и продает металлорукав РГМ-МРВД с присоединительной арматурой под быстроразъемное соединение хомутового типа исполнение 5, изготовленный в соответствии с общими техническими АО "Транснефть" ОТТ-23.040.70-КТН-0414-22 и ОТТ-23.040.70-КТН-073-11. Продукция изготавливается с внутренним условным проходом трех диаметров: Ду100, Ду150 и Ду200 мм на рабочее давление до 100 бар.
Данный рукав конструктивно полностью идентичен металлорукаву серии РГМ-ПМТ.
Металлорукав МРВД-5-ХХХ-ХХ-ХХХХ-ХХХ с патрубком под хомутовый БРС. Номенклатура.
Для заказа производства металлорукавов МРВД-5-, отправьте нам заявку с указанием внутреннего проходного диаметра, длины, рабочего давления и необходимого вам количества изделий. Поставка продукции осуществляется со склада в Уфе по всей территории РФ и СНГ. Цена предоставляется по запросу. Звоните: (347) 294-17-77. Электронная почта:
Металлорукав МРВД-5-ХХХ-ХХ-ХХХХ-ХХХ
- МРВД-5 - исполнение 5
- -ХХХ - Номинальный диаметр DN
- -ХХ - Номинальное давление PN, МПа
- -ХХХХ - Длина, м
- -ХХХ - Вид климатического исполнения по ГОСТ 15150
Характеристики металлорукава МРВД-5 с присоединительной арматурой под быстроразъемное соединение хомутового типа металлорукава ОТТ-23.040.70-КТН-0414-22 и ОТТ-23.040.70-КТН-073-11 исп.1.
Исполнения рукавов, не указанные в таблице, определяет изготовитель рукавов и согласовывает с заказчиком.
| Наименование показателя | Значение показателя | |||||||||||||||
| Номинальный диаметр DN | 100 | 150 | 200 | |||||||||||||
| Номинальное давление PN, МПа | 1,6 | 2,5 | 4,0 | 6,3 | 8,0 | 10,0 | 1,6 | 2,5 | 4,0 | 6,3 | 8,0 | 10,0 | 2,5 | 4,0 | 6,3 | 8,0 |
| Внутренний диаметр гибкой части рукава d, мм | 100 | 100 | 100 | 100 | 100 | 100 | 150 | 150 | 150 | 150 | 150 | 150 | 200 | 200 | 200 | 200 |
| Наружный диаметр концевого участка рукава, а, мм | 113 | 166 | 238 | |||||||||||||
| Диаметр проточки, b, мм, не более | 106 | 155 | 220 | |||||||||||||
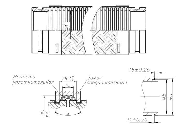
Конструкция и присоединительные размеры концевых участков металлорукавов МРВВД-5 с присоединительной арматурой под быстроразъемное соединение хомутового типа.
| Номинальный диаметр DN | Наружный диаметр манжеты уплотнительной в рабочем положении c, мм |
Внутренний диаметр замка соединительного d, мм |
Угловой параметр уплотнительной манжеты в рабочем положении а, град. |
| 100 | 136 | 109 | 50° |
| 150 | 190 | 158 | 50° |
| 200 | 260 | 222 | 28° |
- Рабочее давление (Рраб), указанное во всех таблицах, приведено к 20 С0.
- Металлорукав с концевой арматурой изготавливаются из цельной гибкой части длиной (L) 6 м.
- По требованию заказчика металлорукава могут свариваться в плети любой длины более 6 м.
- Выбор типа сильфона (высота и ширина гофра, толщина материала и пр.), количество оплеток и толщина проволоки - определяется производителем и зависит от параметров рукава (давление, назначение).
- Марка стали определяется рабочей средой и условиями эксплуатации.
- Завод гарантирует точное соответствие гибкой части (сильфона) по заявленным техническим характеристикам (давление, диаметр, длина).
- Приведена стандартная продукция, возможно изготовление по характеристикам заказчика.
- Вся продукция АО "ГТ" сертифицирована.
Условия эксплуатации.
- Рабочая среда: вода, пар, газы, воздух, нефтепродукты, агрессивные среды;
- Рабочее давление Рраб: от вакуума до 100 кг/см2;
- Температура рабочей среды: от -260 С0до 650 С0;
Конструктивные особенности:
- условный диаметр: Ду от 6 до 80 мм;
- материал гофры (основной сильфон): нержавеющая сталь AISI 304 (09Х18Н9);
- патрубок: нержавеющая сталь AISI 304 (09Х18Н9);
- оплетка (одинарная, двойная): сетчатого типа из стальной нержавеющей проволоки AISI 304 (09Х18Н9) диаметром 0,3; 0,4; 0,5; 0,6 мм;
- тип присоединения: патрубок под хомутовый БРС.


